
Il nuovo iPhone? Non sarà “pieghevole” ma… Flessibile.
È questa l’ultima frontiera tecnologica su cui starebbe lavorando Apple, non soltanto per il nuovo iPhone, ovviamente, ma anche per il nuovo iPad e, prossimamente, per tutti i dispositivi elettronici firmati con la celebre “mela morsicata”, come il Mac.
I nuovi iPhone e iPad flessibili
Ma cosa si intende esattamente con il termine “flessibile”?
Significa sostanzialmente che il nuovo melafonino non si limiterà ad “aprirsi e chiudersi” sul modello dei classici e intramontabili Motorola Startac, ripiegandosi in due come gli smartphone già immessi sul mercato da Samsung, Huawei, Motorola, etc.
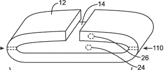
Al contrario, i nuovi device Apple saranno così “fluidi” da poter essere addirittura arrotolati, oppure ripiegati in tre invece che in due, raggiungendo una flessibilità e una duttilità senza precedenti, come appare evidente dagli stessi disegni progettuali che accompagnano il nuovissimo brevetto depositato dall’azienda fondata da Steve Jobs, Steve Wozniak e Ronald Wayne.


Tecnologia flessibile: come funziona?
La rivoluzione fluida di Apple è stata messa nero su bianco attraverso un brevetto, pubblicato allo USPTO negli scorsi giorni. L’invenzione, prevede che i device di Cupertino siano dotati di svariati elementi in grado di flettersi, per adattarsi a ogni necessità: a partire dalla batteria e dai componenti interni come i circuiti, fino alla scocca e, ovviamente, al display, basato sulla tecnologia OLED (Organic Light Emitting Diode).
Flessibilità e sicurezza prêt-à-porter
Da dove nasce l’ambizione di realizzare uno smartphone (o tablet) flessibile? La risposta di Apple è incentrata sulla sicurezza e la resistenza. L’idea infatti, paradossalmente, è quella di “ammorbidire” la scocca per creare un device più forte. Basti pensare per esempio a una caduta accidentale: un apparecchio rigido risulta molto più vulnerabile ai danni da impatto rispetto a uno più morbido e flessibile, che sarebbe invece più efficace nell’assorbimento degli urti.
Non solo, un altro elemento di rottura importante rispetto al passato sarebbe quello della portabilità: sarà lo stesso smartphone (o tablet) ad adattarsi allo spazio a disposizione (in tasca o nella borsetta), piuttosto che il contrario, rendendo così il trasporto molto più pratico e confortevole.
Ovviamente, il fatto che Apple abbia depositato una domanda di brevetto per questa tecnologia flessibile non presuppone il suo sbarco sul mercato in tempi rapidi: potrebbero infatti volerci anni prima di sviluppare un prodotto così complesso.
Ciò che appare evidente però, a pochi giorni dalla presentazione dei nuovi device Apple 2023, è che la direzione intrapresa dall’azienda di Cupertino, California, sembra essere nuovamente quella di portare una nuova rivoluzione nel settore degli apparecchi elettronici, come non si vedeva forse dalla nascita del primo iPhone: a tutti noi dunque non resta che aspettare, per verificare la fattibilità di tale ambizione e, soprattutto, il prezzo…
Questo articolo rappresenta una pubblicazione indipendente redatta da Bugnion Spa e non è stata autorizzata, sponsorizzata o comunque approvata da Apple Inc.
Tutti i Marchi Apple e i relativi loghi sono di proprietà di Apple Inc.
