
The new iPhone? It will not be “foldable” but… Flexible.
This is the latest technological frontier that Apple is supposedly working on, not only for the new iPhone, of course, but also for the new iPad and, in the near future, for all electronic devices branded with the famous “bitten apple”, such as the Mac.
The new flexible iPhones and iPads
But what exactly is meant by the term “flexible”?
It basically means that the new Apple phone will not simply “open and close” along the lines of the classic and timeless Motorola Startac, folding itself in two like other smartphones already available on the market from Samsung, Huawei, Motorola, etc.
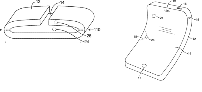
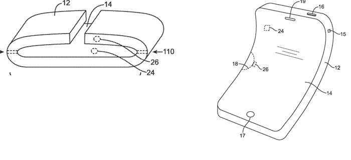
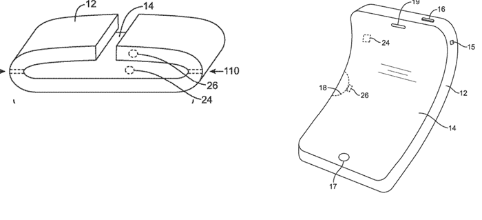
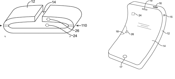
On the contrary, Apple’s new devices will be so “fluid” that they will even be able to be rolled up, or folded into three instead of two, achieving unprecedented flexibility and bendability, as is evident from the drawings accompanying the brand new patent filed by the company founded by Steve Jobs, Steve Wozniak and Ronald Wayne.

Flexible technology: how does it work?
Apple’s fluid revolution has very recently been put to paper through a patent published at the USPTO. The invention requires the Cupertino-born devices to be equipped with various elements that are able to flex, to adapt to every need: starting with the battery and internal components such as the circuits, right up to the body and, of course, the display, based on OLED (Organic Light Emitting Diode) technology.
Flexibility and ready-to-wear security
Where does the ambition to make a flexible smartphone (or tablet) come from? Apple’s response focuses on security and resilience. The idea in fact, paradoxically, is to “soften” the body to create a stronger device. Just think of an accidental fall, for example: a rigid device is much more vulnerable to impact damage than a softer, more flexible one, which would be more effective at absorbing shocks.
Not only that, another important break from the past is that of portability: it will be the smartphone (or tablet) itself that will adapt to the space available (in a pocket or handbag), rather than the other way around, thus making it much more practical and comfortable to carry.
Obviously, the fact that Apple has applied for a patent for this flexible technology does not mean that it will hit the market shortly in the future: it could take years to develop such a complex product.
What is clear, however, a few days after the unveiling of Apple’s new 2023 devices, is that the direction taken by the Cupertino, California-based company seems once again to be that of bringing a new revolution to the electronic device sector, the likes of which we have not seen since the birth of the first iPhone: so we will all just have to wait and see if this ambitious idea comes to fruition and, above all, how big a (bendy) impact it will have on our pockets…
This article represents an independent publication prepared by Bugnion Spa and has not been authorised, sponsored or otherwise approved by Apple Inc.
All Apple trademarks and related logos are the property of Apple Inc.
